Opgave
Bij het afspelen van een cassette in een walkman is de snelheid waarmee de band de weergavekop passeert constant.
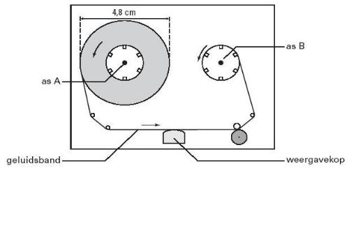
In figuur 1 zie je de walkman bij het begin van het afspelen.
Arjen wil weten hoe snel de band langs de weergavekop gaat.
Hij meet de diameter van de volle rol bij het begin van het afspelen.
Deze blijkt 4,8 cm te zijn.
Hij zet de walkman aan en meet de tijd waarin de volle rol precies 10 rondjes maakt.
Dat blijkt 35,3 seconden te zijn.
De band is zo dun dat je de afname in diameter van de rol kunt verwaarlozen.
a) Bereken, gebruikmakend van de metingen van Arjen, de bandsnelheid.
De snelheden waarmee de assen A en B draaien, passen zich voortdurend aan de constante snelheid van de geluidsband aan.
b) Leg uit of het aantal omwentelingen per seconde van as B bij het begin van het afspelen kleiner is dan, groter is dan of gelijk is aan het aantal omwentelingen per seconde van as A.
In de walkman wordt de energie geleverd door twee batterijen van 1,5 V. Zie figuur 2.
Zowel de versterker als de motor werken op 3,0 V.
c) Teken in figuur 2 verbindingsdraden, zodat de versterker en de motor op de juiste manier op de batterijen zijn aangesloten.
De walkman heeft tijdens het afspelen een vermogen van 170 mW.
d) Bereken de totale stroomsterkte die de batterijen van de walkman leveren tijdens het afspelen.
Arjen wil weten hoe het zit met de energie die de walkman verbruikt tijdens het afspelen en tijdens het spoelen. Hij meet hoe lang de walkman kan afspelen op twee nieuwe batterijen. Dat is 6 uur en 40 minuten. Hij doet twee nieuwe batterijen in de walkman en meet hoe lang de walkman daarmee kan spoelen. Dat blijkt 35 minuten te zijn.
e) Bereken met behulp van de metingen van Arjen het vermogen dat de batterijen leveren tijdens het spoelen.
Uitwerking vraag (a)
- De straal van de volle bandrol is de helft van de diameter, dus 4,8/2 = 2,4 cm.
- De omtrek van de bandrol is 2·π·r = 2·π·0,024 = 0,15 m.
- Dus na tien rondjes is de band dus 10·0,15 = 1,5 m langs de afleeskop gegaan.
- De snelheid is dus 1,5/35,3 = 0,043 m/s.
Uitwerking vraag (b)
- De snelheid bij de afleeskop moet constant blijven.
- Na verloop van de tijd wordt de straal steeds kleiner.
- Hierdoor wordt de omtrek van de band kleiner.
- Bij dezelfde draaisnelheid zou er dus te weinig band per seconde langs de afleeskop gaan.
- Het aantal omwentelingen per seconde dus omhoog.
Uitwerking vraag (c)
- Door de twee baterijen in serie te schakelen wordt de spanning opgeteld tot 3,0 V.
- Zowel de motor als de versterker werken op 3,0 V. Dus zij moeten parallel worden geschakeld.
- Het resultaat wordt dus:
Uitwerking vraag (d)
- Het vermogen wordt gegeven door P = U·I, dus I = P/U.
- Invullen geeft I = 0,170/3,0 = 0,057 A = 57 mA.
Uitwerking vraag (e)
- Het normaal afspelen kost 170 mW en kost 6 uur en 40 minuten, dus 6·60 + 40 = 400 minuten = 400·60 = 24000 seconden.
- De geleverde energie is dan 0,170·24000 = 4080 J.
- Met dezelfde energie kan Arjen 35 minuten = 35·60 = 2100 seconden spoelen.
- Het benodigd vermogen voor spoelen is dus 4080/2100 = 1,9 W.